Clever-tuotteet
Clever-tuotteiden ajatus on helpottaa ja nopeuttaa työtä älykkäillä uusilla innovaatioilla. Tuoteinnovaatiot ovat osin Teamtech Oy toimitusjohtaja Jari Yliniemen suunnittelemia, jotka ratkaisevat asennuksessa havaittuja ongelmakohtia sekä uusia tarpeita.
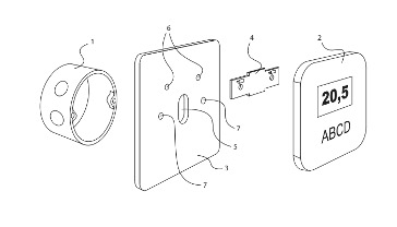
Clever-asennuslevy Uponor T-169 termostaatille
Uponor T-169 termostaatti on erinomainen teknisiltä ominaisuuksiltaan ja erittäin esteettinen. Kuitenkin kun halutaan vanha termostaatti korvata T-169:llä ongelmana on se, ettei asennuksesta tule esteettinen.


Clever-asennuslevy ratkaisee ongelman!
Asennuslevyllä saadaan uusi termostaatti asennettua siististi ja kauniisti vanhan termostaatin tilalle. Asennuslevyn reuna on 10 mm termostaattia isompi ja peittää mahdolliset kojerasian sivussa olevat tapettirepeytymät, liian ison aukon ym. epäesteettisyydet. Asennuslevyssä on myös tila lattialämmitysanturin johdolle.
Asennuslevy sopii rajoitetusti myös T-149 termostaatille.
Clever-asennuslevy
Clever-asennuslevyjä on saatavana valkoisena ja mustana.
Kuluttaja voi ostaa tuotteen alla olevalla lomakkeella. Hinta 27,20 € / kpl (sis. alv). Alle 6 kpl tilauksissa, toimitusmaksu 9,90 € (sis. alv).
Yrityksille on tukkumyynti Dahl Suomi Oy:n toimipisteistä.
- Tukkumyynti, Dahl
- Kuluttajamyynti, alla olevalla lomakkeella
- Valkoinen LVI 2014500
- Musta LVI 2014501
- Mallihyödyllisyys suojanumero U20240003

Tuotteen tarjouspyyntö
Kuluttajamyynti: Tilaus ja hinta varmistetaan ennen toimitusta puhelimitse.
